철근은 인장력을 부담하면서 인장력에 약한 콘크리트를 보강하기 위해 사용합니다. 철근은 강(Steel)을 원료로 구조적인 성능을 발휘할 수 있도록 몇 가지 유형을 생산합니다. 보통 철근은 재질(항복강도)과 지름에 따라 구분되는데, 종류가 많아 복잡하기도 합니다. 철근의 규격은 KS D 3504에 규정되어 있습니다.
▶ '철근의 종류' 내용을 Youtube 동영상으로 보기


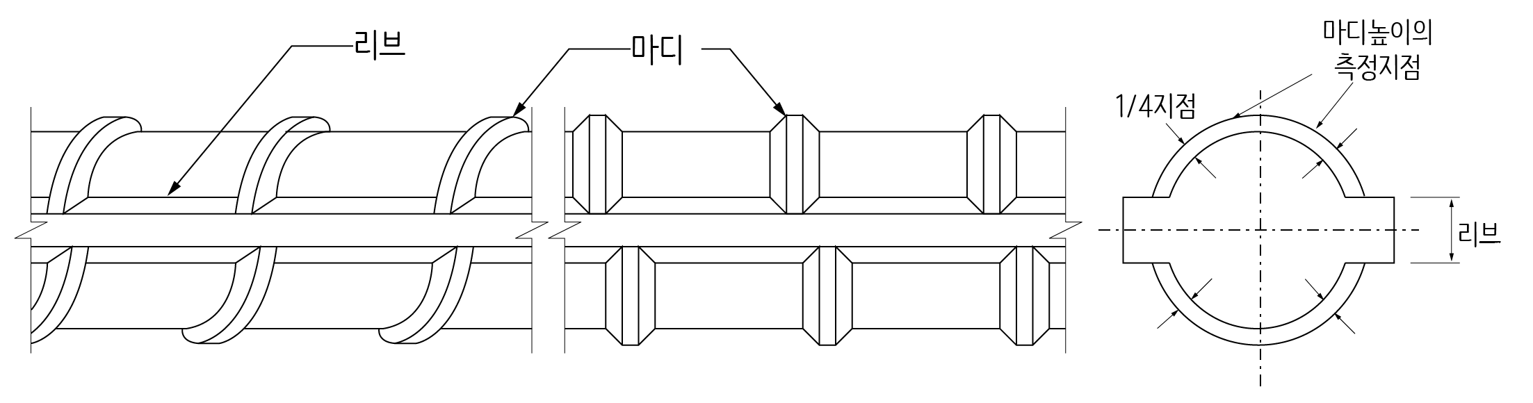
콘크리트 보강에 사용하는 철근은 마디와 리브를 돌출시킨 모양으로 만들어서 이형철근(Deformed bar)이라고 합니다. 이렇게 하면 콘크리트와 부착이 잘 되고 콘크리트와 일체가 돼서 성능을 발휘합니다. 예전에는 KS기준에 원형철근도 있었지만 지금은 원형철근을 삭제하고 이형철근만 규정되어 있습니다.

철근은 보통 무게(Ton) 단위로 구입할 수 있는데, 묶음별로 철근의 재질과 지름, 생산길이 등을 표시합니다. 위 사진을 보면 철근 한 묶음에 태그(Tag)가 붙어 있는데 철근의 종류로 SD500이라고 표기되어 있습니다.

S와 D는 각각 강재(Steel)와 이형철근(Deformed bar)을 의미합니다. 그 뒤의 숫자는 철근의 재질을 나타내는데 항복점 강도를 나타냅니다. 고강도 탄소강처럼 응력변형도 곡선에서 항복점 강도가 뚜렷하지 않으면 0.2% 오프셋 항복강도로 표시합니다.


보통 SD400 이상을 많이 쓰는데 항복점 강도가 400N/mm² 이상으로 만들어졌다는 것을 의미합니다.
철근의 재질은 일반용이 다섯 가지, 특수 내진용이 네 가지, 용접용 두 가지가 생산됩니다. 최근 건축물이 높아지면서 고강도 철근의 사용 빈도가 늘어나고 있습니다. 특수내진용 뒤에 붙이는 기호 S는 Seismic를, 용접용 뒤에 붙이는 기호 W는 Weldable을 의미합니다.

KS 기준은 2016년에 개정하면서 잘 사용하지 않던 SD350을 삭제했습니다. 그리고 원래 따로 규정되어 있었던 KS D 3688(고성능 철근 콘크리트 봉강)을 특수내진용을 통합했습니다. 성분 규정에서도 건축물의 내구성 강화를 위해 인이나 황 등의 불순물에 대한 규정을 추가하였습니다.
2021년에 SD700S가 추가되어서 특수내진용 철근은 총 4가지입니다.
용접용 철근은 인(P)이나 황(S) 등의 성분이 일정 함량 이하가 되도록 엄격하게 규정하고 있습니다. 이들 성분이 많으면 고온 상태가 된 후 식는 과정에서 성능을 나빠지기 때문입니다. 특수 내진용 철근도 충분한 연성을 갖추어 지진 에너지를 흡수할 수 있도록 성분을 엄격히 규정하고 있습니다.

건축물 내진설계기준(KDS 41 17 00 : 건축물 내진설계기준 9.3.1 )에서는 "중연성도과 고연성도가 요구되는 구조형식의 구조물"에 대해 "모멘트골조부재, 벽체의 경계요소, 연결보에 사용되는 주철근에 대해서는 한국산업규격의 내진용 철근(SD400S, SD500S, SD600S)을 사용해야 한다."고 규정하고 있습니다.
" 건축물 내진설계기준 KDS 41 17 00 : 2022
9.3 재료요구사항
(1) 중연성도와 고연성도가 요구되는 구조형식의 구조물에 사용하는 재료는 다음을 따른다.
9.3.1 철근
(1) 모멘트골조부재, 벽체의 경계요소, 연결보에 사용되는 주철근에 대해서는 다음과 같은 성능을 가지는 한국산업규격의 내진용 철근(SD400S, SD500S, SD600S)을 사용해야 한다."
......
9.7 시스템별 상세설계
9.7.1 보통모멘트골조
9.7.2 중간모멘트골조
9.7.3 특수모멘트골조
9.7.4 보통전단벽
9.7.5 특수전단벽
9.3.(1)에서 얘기하는 중연성도와 고연성도가 요구되는 구조형식은 9.7 시스템별 상세설계 중, 중간모멘트골조, 특수모멘트골조, 특수전단벽이 독립적으로 또는 지진력저항시스템과 함께 사용되는 경우에 해당합니다.
따라서 기준을 따른다면 중연성도과 고연성도가 요구되는 구조형식에서는 내진용철근을 사용해야 합니다. 고연성도로 설계하는 경우는 지반이 연약지반인 경우에 한하여 드물게 적용되지만, 중연성도의 경우에도 기둥이 지진력을 얼마나 부담하는지의 비율에 상관없이 내진용 철근을 사용하도록 규정하고 있습니다.
따라서, 건물골조시스템을 설계할 때 전단벽이 지진하중을 100% 부담하도록 설계했다면 골조가 보통모멘트골조가 되기 때문에 내진용철근을 사용하지 않아도 됩니다.
그런데 골조가 지진하중의 일부를 부담하도록 설계했다면 중간모멘트골조에 해당되기 때문에 특수내진용 철근을 사용해야만 합니다.
철근 지식 저장소 목차
철근 지식 저장소를 둘러보기 편하도록 목차 형태로 연결해 놓았습니다. 많은 분들에게 도움이 되었으면 좋겠습니다. 먼저 철근 재료에 대한 내용입니다. [철근 재료] - 철근과 콘크리트의 궁합
next-rebar.tistory.com
| 철근의 표시 방법 (1) | 2021.01.27 |
|---|---|
| 철근의 종류(지름와 길이) (0) | 2021.01.27 |
| 강재의 열적 특성과 부식 (0) | 2021.01.26 |
| 철근과 콘크리트의 궁합 (3) | 2021.01.26 |