겹침이음을 하지 않고 기계적 이음(Mechanical connection)이나 용접 이음으로 철근 이음을 할 수 있습니다. 여기서는 용접 이음으로 가장 많이 사용하는 가스 압접 이음에 대해 살펴보겠습니다.
가스 압접은 이음할 철근의 양단면을 가열하면서 용착하는 방법입니다. KS 기준에서는 SD600 이하의 철근 및 SD400W와 SD500W에만 적용할 수 있다고 규정하고 있습니다.
작업 순서를 보면 압접할 철근의 양면을 그라인더 등으로 면처리해서 매끄럽게 갈아냅니다. 면처리한 두 철근을 맞대고 적당한 압력을 가하면서(가압) 산소-아세틸렌 불꽃 등으로 가열하는 과정을 3차에 걸쳐 진행합니다.



이런 식으로 처리하면 압접 돌출부가 부풀어오르면서 두 철근이 일체화됩니다.

용접이음은 철근의 설계기준 항복강도 ( fy )의 125% 이상을 발휘할 수 있는 완전 용접이 되어야 합니다.
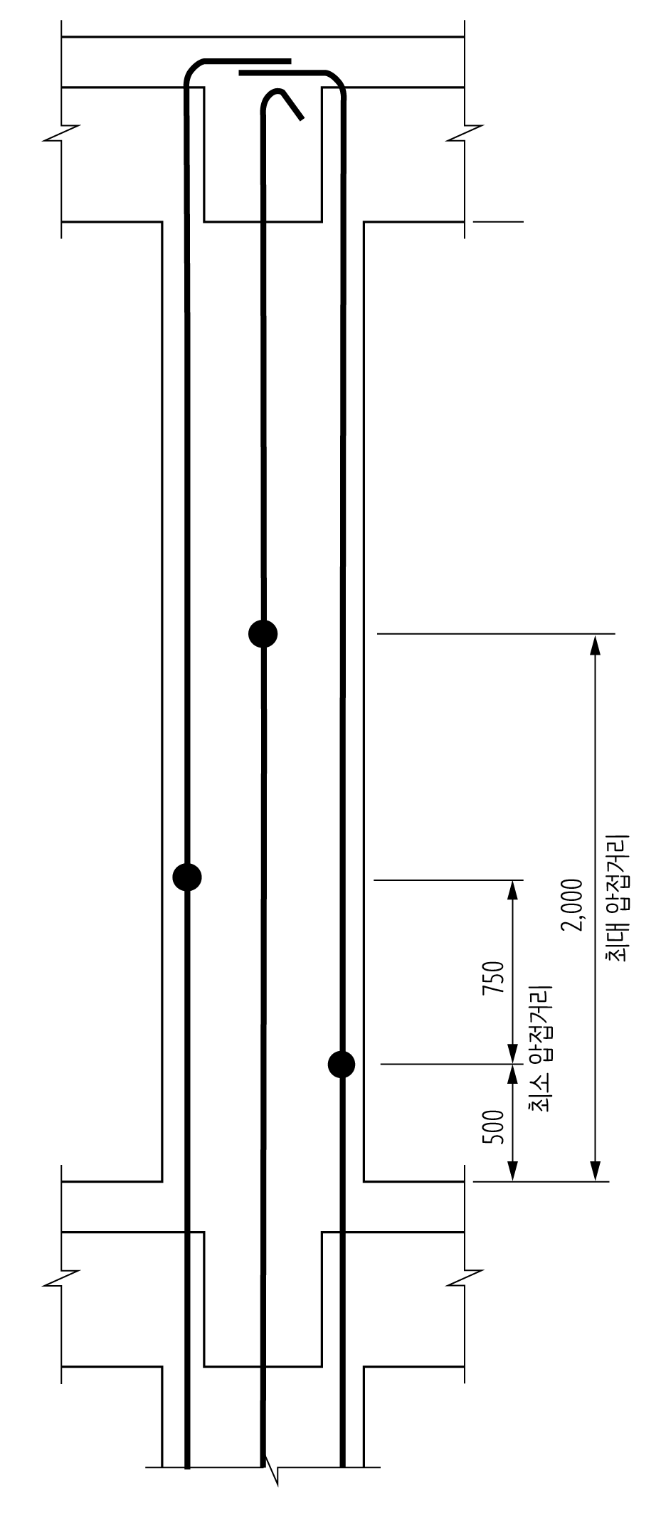
가스 압접의 이음 위치는 다음 그림을 참고하시기 바랍니다.

시방서에서는 가스 압접이 완료되면 다음 사항에 대해 검사하도록 규정하고 있습니다. 여기서 1검사 로트는 원칙적으로 동일 작업반이 동일한 날에 시공한 압접 개소로서 그 크기는 200개소 정도를 표준으로 합니다.

KS 기준에서는 가스압접부 외관에 대해 다음 기준을 만족하도록 규정하고 있습니다.
① 압접 돌출부의 지름은 철근 지름의 1.4배 이상으로 한다.
② 철근 중심축의 편심량은 철근 지름의 1/5 이하로 한다.
③ 압접부는 심한 테모양, 처짐이나 굽은 등이 없어야 한다.

| 인장 이형철근의 정착길이 - 상세식 (0) | 2022.04.16 |
|---|---|
| 표에서 정착길이나 이음길이를 찾는 방법 (5) | 2021.04.27 |
| 일반철근과 상부철근(블리딩현상) (7) | 2021.04.19 |
| 기둥 철근의 정착과 이음 (13) | 2021.01.30 |
| 위치가 엇갈리는 두 철근을 휘어서 이어야 할까? (0) | 2021.01.30 |